Wydajność rzeźna – od czego zależy wartość tucznika?

Jednym z najistotniejszych parametrów oceny wartości tucznika jest jego wydajność rzeźna (77-85%). Od czego jest ona zależna? Odpowiedź na to pytanie wskaże kierunki, w których trzeba podążać, aby produkować mięso na wysokim poziomie.
Wydajność rzeźna świń zależy od :
- typu użytkowego,
- płci,
- wieku,
- stopnia utuczenia,
- stanu okarmienia (przed ubojem),
- inne.
Spis treści
Wartość tucznika – co ma na nią wpływ?
Cechy charakteryzujące wartość tucznika to przede wszystkim:
- barwa – ilość i jakość podstawowego barwnika mięsa to jest mioglobiny. Preferuje się barwę czerwono-różową. Tymczasem zależy ona głównie od sposobu żywienia (brak żelaza w paszy – nie jest syntezowana mioglobina), jak również od zmęczenia przed ubojem i od rasy świń;
- zapach (smak) – zależy od paszy. Oczywiście różnorodność wpływa korzystnie na smak i zapach;
- kruchość – zależy od rodzaju mięśnia, a szczególnie ilości tkanki łącznej (kolagenu), tłuszczu wewnątrz mięśniowego. Jest uzależniona też od stanu fizykochemicznego białek mięśniowych;
- soczystość – jest to ilość wody, którą otrzymujemy podczas żucia lub wyciskania mięsa;
- wodochłonność – jest to zdolność wiązania wody własnej i dodanej do mięsa. Ma bardzo duże znaczenie w przetwórstwie mięsa. Zależy od stanu fizykochemicznego białka i kwasowości mięsa. Mięso o niskiej wodochłonności nie utrzymuje własnego soku. Z tego powodu jest wilgotne na powierzchni, mniej smaczne i mało przydatne dla przetwórstwa.
Wydajność rzeźna – kryteria i potrzeby oceny
- aspekt zdrowotny,
- popyt na chude mięso,
- koszty żywienia,
- wartość handlowa,
- zagospodarowanie surowca,
- dostosowanie do standardów UE.
Które czynniki wpływają na wydajność rzeźna? Są to przede wszystkim:
- wiek – w czasie wzrostu świń zwiększa się masa mięsa, tłuszczu i kości. Jednakże z różnym nasileniem w różnych okresach życia. Najpierw najszybciej rozwija się układ kostny, wzrost mięśni jest jak gdyby opóźniony w stosunku do szkieletu. Z kolei najpóźniej rozpoczyna się intensywny przyrost tłuszczu.
- rasa – u świń słoninowych (puławska) już przy ok. 40-50 kg wagi żywej zwierzęcia następuje intensywniejsze odkładanie tłuszczu niż mięsa (wcześnie dojrzewające). Z kolei u ras duńskich lub wielkiej białej polskiej dopiero przy ok. 100 kg masy zwierzęcia szybciej odkłada się tłuszcz niż mięso (późno dojrzewające). Przejście z intensywnego przyrostu mięsa w intensywny przyrost tłuszczu jest podstawowym kryterium wczesności dojrzewania świń;
- żywienie – intensywne żywienie – krótki okres tuczu – więcej tłuszczu (mniej mięsa). Ekstensywne żywienie – długi okres tuczu – mniej tłuszczu (więcej mięsa) – nieekonomiczne. Umiarkowane żywienie przez cały okres tuczu – gorsze przyrosty, ale proporcjonalnie dużo mięsa. Istotny wpływ na proporcje mięsa i tłuszczu ma płeć i warunki utrzymania.
Wydajność rzeźna – klasyfikacja poubojowa
Ocena wydajności poubojowej, określanie jej klasy i procentowego udziału mięsa w tuszy jest obowiązkowa przy użyciu atestowanych urządzeń (sondy ultradźwiękowe). Zawartość mięsa w tuszy sprawdzamy na podstawie pomiaru grubości słoniny nad okiem. Polędwicę sprawdzmy na wysokości 13/14 i ostatniego kręgu piersiowego, w odległości 7cm od linii środkowej tuszy. Tymczasem pomiar wysokości mięśnia długiego grzbietu – polędwicy nad ostatnim żebrem, Wydajność rzeźna oceniana jest u tuczników o masie 60-120kg. Ocena jest pomiarem grubości mięśnia i tłuszczu w określonym miejscu tuszy.
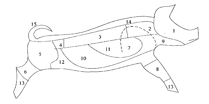
Schemat 1. Podział półtuszy wieprzowej,

Na wartość tucznika wpływ ma jakość jego mięsa -przyrost tkanki tłuszczowej różni się u poszczególnych ras
1–głowa, 2-karkówka, 3-schab, 4-biodrówka, 5-szynka, 6-golonka tylna, 7-łopatka,
8-golonka przednia, 9-podgardle, 10-boczek, 11-żeberka, 12-pachwina, 13-nogi,
14-słonina, 15-ogon
Czego źródłem jest mięso wieprzowe?
Mięso wieprzowe to źródło:
- białka – dostarcza człowiekowi aminokwasów (histydyny, izoleucyny, leucyny, fenyloalaniny, treoniny, tryptofanu, waliny) niezbędnych do życia i prawidłowego funkcjonowania organizmu,
- aminokwasu tauryny – nie występujący w roślinach. Odpowiada m. in. za prawidłowe funkcjonowanie mięśnia sercowego. Zmniejsza poziom cukru i cholesterolu we krwi, a także wspomaga syntezę białek oraz trawienia tłuszczów.
Ponadto mięso wieprzowe to źródło: składników mineralnych, jak selen, żelazo, cynk. Chuda wieprzowina: 1,8 mg żelaza 2,6 mg cynku, wątroba: 360 mg magnezu 20 mg żelaza 60 μg selenu. Porcja 100 g mięsa i wątroby jest w stanie pokryć w 50% dobowe zapotrzebowanie człowieka na żelazo, cynk, selen.
Mięso wieprzowe jest źródłem: witamin A, B1, B2, B6, B12. Porcja 100-120 g wieprzowiny pozwala na pokrycie dziennego zapotrzebowania człowieka na witaminę B1 oraz witaminę A. W znacznych ilościach występuje również witamina B6 odgrywająca zasadniczą rolę w przemianie materii, szczególnie syntezie białek.
Zawartość tłuszczu zależy od tego z jakiej części tuszy on pochodzi. Nie tylko ilość tłuszczów, ale i rodzaj kwasów tłuszczowych w nich występujących decyduje o tym czy wartość tucznika będzie zadowalająca. Preferowane są nienasycone kwasy tłuszczowe, głównie wielonienasycone ze względu na możliwość zapobiegania miażdżycy i chorobie niedokrwiennej serca. W tłuszczu wieprzowym kwasy te stanowią ok. 50% przy czym kwasów tłuszczowych wielonienasyconych jest od 7% do 14%, kwasy jednonienasycone stanowią od 41% do 52%. Zawartość kwasów tłuszczowych nasyconych w tłuszczu wieprzowym nie przekracza 50%. Kwasy tłuszczowe, które powodują wzrost stężenia cholesterolu we krwi i mogą stanowić istotne zagrożenie zdrowotne stanowią, co najwyżej 2% ogólnej puli kwasów tłuszczowych.
| Kategoria | Rynek wieprzowy |
| Problematyka | Jakość żywca wieprzowego |
| Słowa kluczowe | Wydajność rzeźna, wartość tucznika, tusza, |











